給料系列
0373-2688775


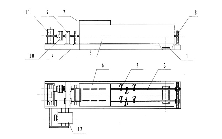
ZJ系列雙軸攪拌機
產品概述:
雙軸攪拌機是水泥廠預加水成球裝備中的一臺主要設備,該機主要用于水泥廠成球機前的預加水攪拌用,也可用于同等情況下其它物料的攪拌。
設備主要特征:
1、配備有預加水,噴頭離料面距離不小于200mm,利用水的霧化,充分預濕。
2、攪拌葉嵌焊硬質合金頭,耐磨性好,使用壽命長。
3、主動軸及從動軸采用軸銷固定方式并整體加工,同軸度好、剛性強、確保整體軸強度并使得運轉平穩。
4、攪拌葉在軸上用定角度方向固定,螺母緊固,左右軸位置明確,易于裝配。
5、整機采用弧型底部,整體機架,外觀曲直有度,美觀大方。
6、根據用戶要求,動力系統可左右更換。
型號說明:

ZJ雙軸攪拌機主要技術參數:

外型圖:

設備安裝及運轉:
1、本機一般是與其它設備配套使用,安裝時要參照相關工藝要求。
2、本機所用供水水壓不少于2kg/cm2,水質要干凈純潔,如水質不好,需在水箱出口處加過濾網,并定期清洗。
3、對所有外露工件表面應檢查是否因裝卸造成變型或損壞,如有應修復。
4、安裝時,應保證機殼直線度誤差在0.5/1000范圍內,兩軸承座中心線對機體中心線的同軸度誤差不大于1/1000,螺旋葉片對機殼兩側及底部間隙應基本一致,并且在驗收標準之內,一般不低于3mm。
5、設備安裝完畢并經檢查無誤后,給各加油點加一次油。打開齒輪箱清理后,加32#齒輪潤滑油淹到齒輪下齒。合蓋后,點動機器空運轉一下,看整個機器有無撞擊及摩擦聲,如有找出病因并修復,無誤后,空開車2—3小時,檢查軸承發熱是否在正常范圍內,如溫度過高,需檢查兩同軸承的同軸度及各個軸承的裝配質量。
6、空運轉無誤后,可加料、加水攪拌試車,并投入試運轉。
操作規程:
1、開機前應檢查水路、料路、電路是否通暢安全。
2、要與其它設備配合開機,注意料的給入與給出設備的配套。
3、不要滿載開機及滿載停機。停機時,等攪拌機內物料基本排完后再停;開機時如遇特殊情況槽內有較多物料,應清除后再開機。
4、給料應均勻,以保持出料均勻負荷均勻。
5、操作者應經常巡回檢查供料、供水情況,防止異物掉入攪拌機內,并保持出料口暢通。
6、間隔一定時間應清除攪拌機底部結層,防止長期結層對機器造成損壞。
維護與保養:
1、每周給各注油點加一次黃油脂,每月檢查一次齒輪箱內的齒輪潤滑油,如變質需更換。一般情況下,每年應更換一次齒輪潤滑油。
2、每班開車時,認真檢查一次減速機,聽齒輪嚙合聲是否正常;運轉時,要觀察軸承,并手試其外表溫度,溫度如過高、需停車檢修。
3、傳動帶需要保持松緊適度。
4、攪拌葉磨損較嚴重,每周檢查一次,發現磨損嚴重時要及時更換。
5、正常運轉時,機殼邊緣均有一定厚度的積料層,停機時應及時清除,特別是長時間停機時,一定要把硬結料層清理干凈,以防下次開機時卡死損壞設備。
6、保持機器兩端的密封,應每2—3天對密封盒緊固一次,每7-10天加毛氈,換毛氈后要把密封盒壓緊。
公司產品廣銷全國多個省市地區,產品獲得廣大客戶好評
秉持“專一、專注”的精神,提供匠心產品,服務全球千萬用戶
實力雄厚 · 設備優良 · 質量保證 · 用戶至上 · 合作共贏
0373-2688775
掃一掃 關注我們